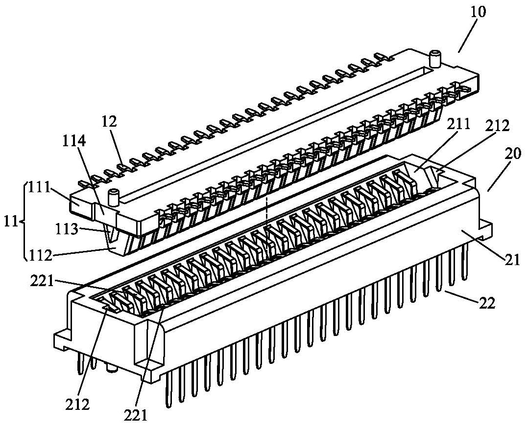
中航光电公布国际专利申请:“一种母端信号端子、绝缘壳体及母端连接器”
证券之星消息,根据企查查数据显示中航光电(002179)公布了一项国际专利申请,专利名为“一种母端信号端子、绝缘壳体及母端连接器”,专利申请号为PCT/CN2024/121003,国际公布日为2025年10月16日。

图片来源于网络,如有侵权,请联系删除
专利详情如下:
图片来源:世界知识产权组织(WIPO)
今年以来中航光电已公布的国际专利申请13个,较去年同期增加了30%。结合公司2025年中报财务数据,今年上半年公司在研发方面投入了8.83亿元,同比增5.67%。
数据来源:企查查
以上内容为证券之星据公开信息整理,由AI算法生成(网信算备310104345710301240019号),不构成投资建议。
目录 返回
首页
