苏 泊 尔获得实用新型专利授权:“一种容器盖和烹饪容器”
证券之星消息,根据天眼查APP数据显示苏 泊 尔(002032)新获得一项实用新型专利授权,专利名为“一种容器盖和烹饪容器”,专利申请号为CN202520208945.6,授权日为2026年1月23日。

图片来源于网络,如有侵权,请联系删除
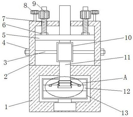
专利摘要:本申请涉及一种容器盖和烹饪容器,所述容器盖包括盖体和翻沿部,所述翻沿部与所述盖体固定连接,所述翻沿部至少包括第一弧段、第二弧段和连接段,所述连接段的一端与所述第一弧段连接,另一端与所述第二弧段连接,沿所述容器盖的高度方向,所述连接段向背离所述盖体的一侧倾斜。在烹饪过程中,容器体内的水蒸汽遇到容器盖的盖体的内表面冷凝成液体,进而液体在重力和微压的作用下依次沿第一弧段、连接段、第二弧段朝向靠近容器盖中心的方向导流,降低液体溢出的风险,进而降低液体滴落至明火灶台的风险以及烫伤用户的风险,提高烹饪的安全性。

图片来源于网络,如有侵权,请联系删除
今年以来苏 泊 尔新获得专利授权3个,较去年同期增加了50%。结合公司2025年中报财务数据,2025上半年公司在研发方面投入了2.1亿元,同比增2.87%。

图片来源于网络,如有侵权,请联系删除
通过天眼查大数据分析,浙江苏泊尔股份有限公司共对外投资了21家企业,参与招投标项目207次;财产线索方面有商标信息983条,专利信息1123条,著作权信息12条;此外企业还拥有行政许可18个。
数据来源:天眼查APP
以上内容为证券之星据公开信息整理,由AI算法生成(网信算备310104345710301240019号),不构成投资建议。
目录 返回
首页
