格力电器获得实用新型专利授权:“一种动态供能调节装置及空调系统”
证券之星消息,根据天眼查APP数据显示格力电器(000651)新获得一项实用新型专利授权,专利名为“一种动态供能调节装置及空调系统”,专利申请号为CN202521035775.2,授权日为2026年4月21日。

图片来源于网络,如有侵权,请联系删除
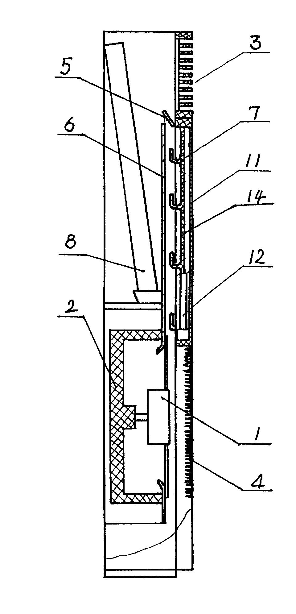
专利摘要:本实用新型提供了一种动态供能调节装置及空调系统,属于空调系统技术领域。该动态供能调节装置包括通风管以及套管,通风管上设置有多个第一出风口,多个第一出风口沿通风管的轴线方向设置在通风管上,每个第一出风口处均设置有控制阀。套管可转动设置在通风管的外壁,套管上设置有第二出风口,第二出风口与第一出风口连通。该装置能够根据使用需求开启不同的控制阀,从而实现针对性的送风,能够提高送风管的送风效率,提高对用能区域的温度调节速度。

图片来源于网络,如有侵权,请联系删除
今年以来格力电器新获得专利授权2166个,较去年同期增加了26.59%。结合公司2025年中报财务数据,2025上半年公司在研发方面投入了39.18亿元,同比增10.92%。

图片来源于网络,如有侵权,请联系删除
通过天眼查大数据分析,珠海格力电器股份有限公司共对外投资了98家企业,参与招投标项目34142次;财产线索方面有商标信息8674条,专利信息121605条,著作权信息300条;此外企业还拥有行政许可928个。
数据来源:天眼查APP
以上内容为证券之星据公开信息整理,由AI算法生成(网信算备310104345710301240019号),不构成投资建议。
相关 ETF
目录 返回
首页
